1519414

Blanco MILA

Prodotto eliminato

1519414

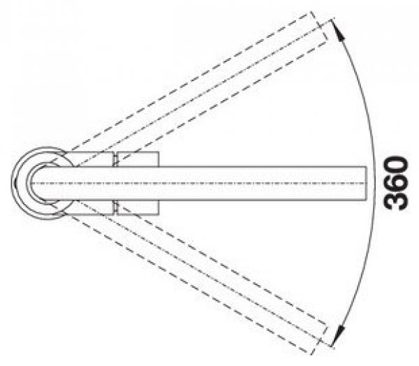
MISCELATORE BLANCO MILA

TIPOLOGIA: MISCELATORE SOVRATOP

NUMERO VIE: 2

NUMERO FORI: 1

COLORE: CROMO

Altri che potrebbero interessarti

1519810

Blanco MILA-S

Visualizza prodotto

8425/100

Foster MILANELLO

Visualizza prodotto

1517742

Blanco MIDA

Visualizza prodotto

1519413

Blanco MILI

Visualizza prodotto

1519416

Blanco MIDA

Visualizza prodotto

1519415

Blanco MIDA

Visualizza prodotto

Torna al prodotto

Accesso utenti

Email

Password

Hai dimenticato la password? Recupera password!

Non sei ancora registrato? Registrati qui!